輪流量計積算儀硬件電路設計
1、積算儀系統硬件電路構成:
渦輪流量計硬件電路圖主要由以下五個部分組成:電源電路、信號處理及 CPU電路、顯示電路、鍵盤電路、比較電路。其整體硬件電路系統結構框圖如圖 3-1所示。

圖3-1 渦輪流量計積算儀系統結構
測量系統工作流程如下:被測流體經過傳感器,在檢測線圈中磁通隨之發生周期性變化,產生的周期性的感應電勢,即電脈沖信號,被送入以單片機為中心的信號處理單元,進行計算、積算、存儲和顯示。整體電路連接參見系統電路原理圖 3-9 所示。
2、電源電路:
電源電路的作用主要是給測量系統供電,本測量系統的電源由兩個獨立電源組成,可以獨立進行工作,互不依賴。并且采用電池供電,電池是純凈電源,能有效降低系統的干擾。電源電路的連接如圖3-2所示。

圖3-2 電源電路圖
3、比較電路:
系統采用一個外部比較電路對脈沖信號進行比較,輸出想要得到的脈沖信號。 比較器電路選用了LM258單電源運算放大器,其管腳配置如圖3-3所示:

圖3-3 LM258DIP8封裝
選擇LM258主要基于以下考慮:
① 輸入電壓范圍寬;
② 低成本;
③ 滿足脈沖比較放大的功能[7];
比較器電路的連接如圖3-4所示。

圖3-4 比較器電路連接圖
電路的參考電壓接比較器的同相端,脈沖信號接比較器的反相端,當脈沖信號電壓大于參考電壓時,輸出飽和高電壓;當脈沖信號電壓小于參考電壓時,比較器輸出端截止,輸出低電平。
4、信號處理及 CPU:
傳感器輸出的脈沖信號,送至信號處理即 CPU 系統,進行計數、計算、累積。單片機是信號處理電路的核心,是整個系統的關鍵部分,在整個硬件電路中起著舉足輕重的作用。
它的主要功能包括:
對傳感器的輸出脈沖信號計數;
人機交互;
流量積算;
LCD 顯示控制;
數據存儲。

圖3-5 管腳配置圖

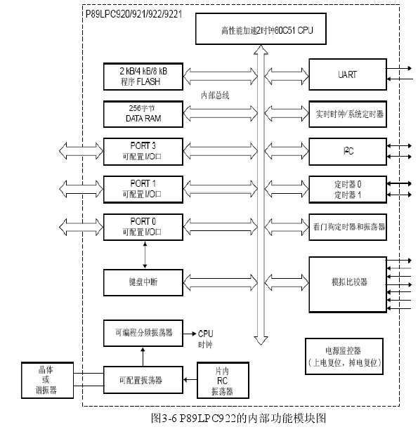
圖3-6 P89LPC922的內部功能模塊圖
4.1、LPC900 FLASH 單片機介紹:
LPC900 FLASH 單片機,是 PHILIPS 公司推出的一款高性能、微功耗 51 內核單片機,主要集成了字節方式的 IC 總線、SPI 總線、增強型 UART 接口、比較器、實時時鐘、EPROM、AD/DA 轉換器、ISP/IAP 在線編程和應用中編程等一系列有特色的功能部件。LPC900 系列單片機提供從 8 腳 DIP 到 28 腳的 PLCC 等豐富的封裝形式,可以滿足各種對成本、線路板空間有限制而又要求高性能、高可靠性的應用。且其具有高速率(6 倍于普通 51 單片機),低功耗(完全掉電模式功耗低于 1u A),高穩定性,小封裝,多功能(內嵌眾多流行的功能模塊),多選擇等特點(該系列有多款不同封裝,不同價位,不同功能的型號供用戶選擇)。
適合于許多要求高集成度、低成本的場合。可以滿足多方面的性能要求。P89LPC920/921/922/9221 采用了高性能的處理器結構,指令執行時間只需 2 到 4個時鐘周期。P89LPC920/921/922/9221 集成了許多系統級的功能,這樣可大大減少元件的數目和電路板面積并降低系統的成本[8]。
4.2、P89LPC922 型號的選擇:
選擇P89LPC922主要是基于以下考慮:
2. 速度快。 P89LPC920/921/922采用增強型80C51 CPU,其運行速度是標準80C51的6倍。一個機器周期由2個CPU時鐘周期組成,大多數指令執行時間為1到2個機器周期。當操作頻率為18MHz時,除乘法和除法指令外,高速80C51 CPU的指令執行時間為111~222ns。同一時鐘頻率下,其速度為標準80C51器件的6倍。只需要較低的時鐘頻率即可達到同樣的性能,這樣無疑又降低了功耗和EMI。
3. 鍵盤中斷。 P89LPC922芯片的I/O口具有鍵盤中斷功能,該功能主要用于當P0口等于或不等于特定的模式時產生一個中斷。該功能還可用于總線地址識別或對鍵盤的識別。用戶可通過SFR將端口配置為不同的用途。
4. 脈沖檢測計數。 P89LPC920/921/922/9221有2個模擬比較器,輸入和輸出選項允許將比較器配置成為不同模式。當正向輸入(二個可選擇腳之一)電壓大于反向輸入時(可選擇外部管腳輸入或內部參考電壓),輸出信號為“1” (可從寄存器讀出和/或輸出到管腳),反之則輸出為“0”。每個比較器都可配置為當輸出發生改變時產生中斷,其較低工作電壓為VDD=2.4V。本測量系統采用外部參考電壓,利用比較器的功能,記錄來自傳感器的脈沖信號個數,以此來計算流體的流量值。
5. 流量累計及定時顯示。 P89LPC920/921/922/9221具有一個簡單的實時時鐘。它允許用戶在器件其它部分掉電時能夠繼續運行一個的定時器。實時時鐘可以作為一個中斷或一個喚醒源。實時時鐘可用作1個由7位預分頻器組成的23位倒計數器或1個可裝載的16位倒計數器。當定時時鐘變為0后,計數器被重裝載,并設置RTCF標志。該定時器的時鐘源可以是CPU時鐘(CCLK)或者XTAL振蕩器(前提是XTAL振蕩器不作為CPU的時鐘源)。如果XTAL振蕩器作為CPU時鐘源,
綜上所述,可以看出P89LPC922單片機滿足了本測量系統低功耗、高速度、高性能的要求,適合用作渦輪流量計積算儀系統的CPU。另外。P89LPC920/921/922集成了許多系統級的功能,這樣可大大減少元件的數目和電路板面積并降低系統的成本。
5、LCD 選擇:
顯示模塊是人機接口的一個重要組成部分,友好的顯示界面能夠方便操作者的讀數和進行參數設定。其接線圖見圖3-9系統原理圖。
本測量系統的顯示模塊選用了長沙太陽人電子有限公司的微功耗SMS0501C液晶顯示模塊,其主要顯示參數如下:
接口信號說明[10]: VDD:電源正極 D1:串行數據輸入 CLK:串行移位脈沖輸入 VSS:電源地 
圖3-7 液晶外觀圖 
6、鍵盤電路:
在計算流量之前,系統必須對所用參數進行設置;在測出流體的流量后,智能流量檢測儀表還應該將所得到的瞬時流量、累積流量等數據進行實時顯示,以便于操作人員能夠及時了解流量的變動情況。為了能夠向儀表系統輸入數據、傳輸命令,智能檢測儀表一般還根據實際需要配備了鍵盤。
同時,在流量積算系統中由于要顯示的數據位數較多,而單片機要實時的采集和處理現場數據,因此顯示不能占用太多單片機的時間,這就要求設計鍵盤電路。

圖 3-8 鍵盤電路圖
7、硬件電路原理圖:
下圖為本測量系統整體硬件設計原理圖,主要的部分電路我們在以上幾節已經講述過,在此不再重復。 
圖 3-9 系統原理圖
8、PCB 圖:
圖 3-10 系統 PCB 版圖
本章小結:
本章詳細介紹了本測量系統的硬件電路設計部分,首先對電路的總體構成框架進行了介紹,使我們對系統有了一個整體的認識和了解,然后進一步分別對系統各部分電路的功能以及考慮的要點進行了詳細的分析和介紹,使我們懂得了系統各部分所起的作用以及設計思想,其中包括:電源電路、信號放大電路、信號處理電路以及鍵盤電路。
